Запасные части ЧТЗ Запасные части ЧТЗ
Красный луч
Например:
Актобе
Алдан
или
Выбрать автоматически
Актобе
Алдан
Алматы
Алчевск
Архангельск
Астана
Астрахань
Атырау
Баку
Балашиха
Барнаул
Белгород
Бердянск
Бишкек
Владивосток
Владикавказ
Воркута
Воронеж
Горловка
Грозный
Донецк
Екатеринбург
Иваново
Ижевск
Иркутск
Казань
Калининград
Каменск-Уральский
Караганда
Каховка
Кемерово
Киров
Комсомольск-на-Амуре
Костанай
Краснодар
Красноярск
Красный луч
Ленск
Луганск
Магадан
Магнитогорск
Макеевка
Махачкала
Мелитополь
Минск
Мирный (Якутия)
Москва
Мурманск
Нерюнгри
Нижневартовск
Нижний Новгород
Нижний Тагил
Новая каховка
Новокузнецк
Новосибирск
Новый Уренгой
Норильск
Ноябрьск
Нур-Султан
Омск
Оренбург
Ош
Павлодар
Пермь
Петрозаводск
Петропавловск
Петропавловск-Камчатский
Псков
Ростов-на-Дону
Салехард
Самара
Санкт-Петербург
Саратов
Севастополь
Семей
Симферополь
Сочи
Ставрополь
Сургут
Сыктывкар
Тараз
Ташкент
Токмак
Томск
Тында
Тюмень
Ульяновск
Усинск
Усть-Каменогорск
Уфа
Хабаровск
Ханты-Мансийск
Херсон
Челябинск
Чита
Шымкент
Экибастуз
Энергодар
Южно-Сахалинск
Якутск
Ваш город
Красный луч
Войти
Запасные части к тракторам на одном сайте
+7 (932) 303-00-10
+7 (932) 303-00-10
г. Красный луч
Пн-Пт: 9:30-18:30 Cб-Вс: Выходной
Отправить заявку


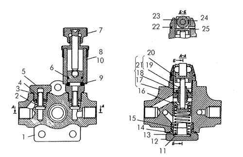
Топливоподкачивающий насос в разрезе на Т-170


/
с НДС 20%
Описание
Топливоподкачивающий насос в разрезе
Поз.НаименованиеАртикулКол-во в сборке
0Насос топливоподкачивающий 51-71-4СП1
1Корпус51-71-113СП1
2Пружина700-38-28672
3Кольцо 409112
4Клапан51-71-172
5Пробка700-37-22771
6Кольцо700-40-37711
7Шток51-71-109СП1
8Цилиндр51-71-151
9Кольцо уплотнительное 409151
10Топливоподкачивающий насос51-71-108СП1
11Упор51-71-181
12Пробка700-37-22761
13Шайба700-31-26861
14Прокладка51-71-241
15Пружина700-38-28691
16Поршень51-71-371
17Корпус51-71-351
18Кольцо700-58-25831
19Втулка51-71-91
20Стержень51-71-111
21Втулка со стержнем51-71-106СП1
22Кольцо700-58-25821
23Ролик51-71-271
24Ось51-71-321
25Толкатель51-71-311
Топливоподкачивающий насос в разрезе